《SD高达OL》正式复活?十几年前爆火的游戏即将登陆Steam
原标题:《SD高达OL》正式复活?十几年前爆火的游戏即将登陆Steam | 游戏干线
作者:游戏干线编辑部
来源:游戏干线

题图来源 | pexels
近日,Steam 商店页面出现了名为《SD GUNDAM ONLINE》的游戏(即《SD 高达 OL》,此前久游网运营的正式名为《SD 敢达 OL》)。从资料上来看,这确实是之前在国内拥有众多粉丝的《SD 高达 OL》。

游戏简介现实,该版本在全简体中文的基础上,也支持日、韩、繁中字幕,可在设置中一键切换。
发行方为花翎互娱。爱企查数据显示,这是一家成立于 2023 年 3 月 23 日,位于天津市河西区的小微企业。法定代表人为崔秋生,2024 参保人数为 3 人,其中崔秋生担任执行公司事务的董事,经理。
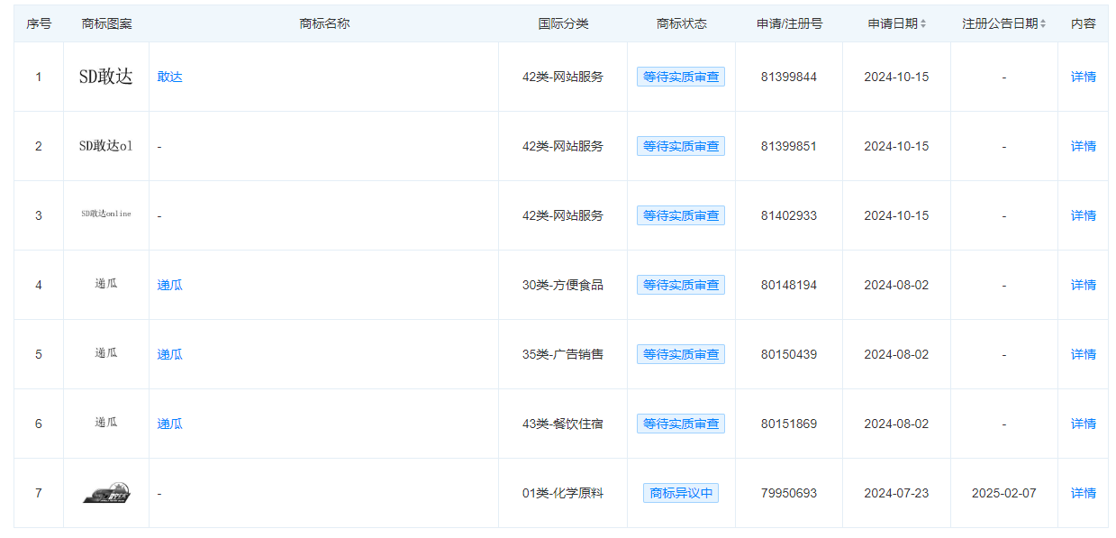
根据天眼查资料,该公司于 2024 年 7 月开始申请了一系列《SD 敢达 OL》相关商标,并于今年 5 月份注册完成了《SD 敢达 Online》软著。在 2024 年 6 月,官方还在 B 站开设了官号。



不过在 B 站的另一个官号【花翎科技】已经在今年 4 月份开始投递《SD 高达 OL》游戏视频。

从现有线索推理,《SD 高达 OL》Steam 服应该是做好了准备,可能不久后便会开放。
《SD 高达 OL》是日本 BANDAI 在韩国的分公司 BANDAI KOREA 发表的网游,于 2008 年 12 月 18 日发行,这是一款以动画《高达》为题材开发的网络游戏。该作是 BANDAI 与韩国 Softmax 合作、由 Softmax 负责开发,以动作类型登场。
中国代理方为久游网,正式名为《SD 敢达 OL》。该作由原动漫剧情设计关卡 PVE 和团队竞技 PVP 组成,主要付费方式为通过扭蛋(抽卡)抽取机体。该作在中国大陆市场颇有人气,被誉为一代人的 PC 高达游戏回忆。
2015 年 4 月,韩国官网发布公告称该作将于 2015 年 5 月 29 日停止运营。同年国服发布公告宣称国服不受韩国停运影响,将继续运营。然而在发布公告后不久,国服也发布了停服公告。2015 年 7 月底国服也正是关服。
在《SD 高达 OL》后,韩国官方宣布将推出续作《SD 高达 OL2》。然而在 2016 年 9 月,《SD 高达 OL2》也宣布关服。
在过去的十年中,由于《SD 高达 OL》的高人气,曾有多个组织尝试以私服的形式在中国大陆地区市场复活这款游戏。甚至出现了一个玩家数近万,但是一个多月就光速跑路的人气私服。
此后又有人推出了全机体免费无魔改的龟霸服,以及仿照此前大陆版本官服形式的 OC 服。
通过 OC 官方网站发现,OC 服即花翎互娱即将在 Steam 上线的《SD GUNDAM ONLINE》,本次可能是解决了版权相关问题转正。

文章信息来自于游戏干线,不代表白鲸出海官方立场,内容仅供网友参考学习。对于因本网站内容所引起的纠纷、损失等,白鲸出海均不承担侵权行为的连带责任。如若转载请联系原出处。
友情提醒:白鲸出海目前仅有微信群与QQ群,并无在Telegram等其他社交软件创建群,请白鲸的广大用户、合作伙伴警惕他人冒充我们,向您索要费用、骗取钱财!
本文相关公司
久游网认证
旗下产品(1款):



闽公网安备35010402350923号